РОССИЙСКАЯ ФЕДЕРАЦИЯ![]() ФЕДЕРАЛЬНАЯ СЛУЖБА ПО ИНТЕЛЛЕКТУАЛЬНОЙ СОБСТВЕННОСТИ, ПАТЕНТАМ И ТОВАРНЫМ ЗНАКАМ |
(19)
RU
(11)
(13)
C1
| |||
| ||||
(12) ОПИСАНИЕ ИЗОБРЕТЕНИЯ К ПАТЕНТУ
| Статус: Пошлина: | действует (последнее изменение статуса: 27.09.2016) учтена за 10 год с 18.09.2016 по 17.09.2017 |
(21)(22) Заявка: 2007134645/02, 17.09.2007
(24) Дата начала отсчета срока действия патента:
17.09.2007
(45) Опубликовано: 27.04.2009 Бюл. № 12
(56) Список документов, цитированных в отчете о поиске: RU 2140051 C1, 20.10.1999. GB 365028 A, 14.01.1932. RU 2256582 C1, 20.07.2005. US 3368451 A, 13.02.1968.
Адрес для переписки:
194100, Санкт-Петербург, Открытое акционерное общество "Конструкторское бюро специального машиностроения" |
(72) Автор(ы):
Потапов Владимир Федорович (RU), Бородин Василий Максимович (RU), Шубников Юрий Игоревич (RU)
(73) Патентообладатель(и):
Открытое акционерное общество "Конструкторское бюро специального машиностроения" (RU) |
(54) КОРАБЕЛЬНАЯ ПУСКОВАЯ СИСТЕМА ДЛЯ ОРУЖИЯ ТИПА ТОРПЕДЫ
(57) Реферат:
Изобретение может быть использовано при создании образцов ракетно-торпедного вооружения надводных кораблей, в частности при использовании одно- и многоуровневых модулей транспортно-пусковых контейнеров (ТПК) на кораблях, построенных с применением технологии стелс. Корабельная пусковая система включает размещенные побортно и симметрично относительно диаметральной плоскости корабля пусковые установки. Каждая них содержит основание, установленное на фундаменте корабля, и поворотную опору. Каждая из поворотных опор выполнена с возможностью установки транспортно-пусковых контейнеров и включает опорную раму, снабженную элементами зацепления. Каждая пусковая установка расположена в надстройке корабля, имеющей закрываемый лацпорт. Технический результат заключается в повышении боевой эффективности пусковых систем, расширении номенклатуры корабельного оружия и повышении живучести корабельного оружия. 2 з.п. ф-лы, 10 ил.


Изобретение относится к корабельным пусковым установкам для оружия типа торпеды и может быть использовано при создании образцов ракетно-торпедного вооружения надводных кораблей, в частности при использовании одно- и многоуровневых модулей (пакетов, кассет) транспортно-пусковых контейнеров (ТПК) на кораблях, построенных с применением технологии стелс (stealth).
Известна корабельная пусковая система, включающая батареи ракет (пусковые установки), расположенные в вертикальных пусковых шахтах, частично размещенных под главной палубой и закрытых в их верхней части при помощи поворотных створок (RU 2225326 С2, B63G 13/02, F41F 3/02, H01Q 17/00, 2004). Створки в закрытом положении образуют часть возвышающейся над уровнем главной палубы надстройки. Устройство содержит на каждой из сторон левого и правого борта возвышающейся над главной палубой надстройки один плоский и наклонный экран, выполненный с возможностью отражать падающий на него пучок электромагнитных волн в направлении, отличном от направления падения пучка, и выступающий по отношению к поверхности палубы на высоту, превышающую высоту палубной надстройки. Устройство имеет защитную сетку, отражающую электромагнитные волны и натянутую над надстройкой, выступающей над поверхностью палубы корабля. Указанные плоские наклонные отражающие экраны и натянутая поверх них защитная отражающая сетка образуют конструкцию, охватывающую возвышающуюся над поверхностью главной палубы надстройку, делая ее невидимой для локатора. Использование такой системы позволяет устранить влияние сооружения, возвышающегося над главной палубой и являющегося частью ракетных батарей в небоевом (походном) положении на общую радиолокационную отражающую способность корабля.
Однако известная корабельная пусковая система имеет специфические целевые характеристики (в частности, вертикальный пуск ракет) и не предполагает ее использования для оружия типа торпеды.
Известны поворотные торпедные аппараты для стрельбы на оба борта или расположенные побортно (Сычев В.А. Корабельное оружие. - М.: ДОСААФ СССР, - 1984, Забнев А.Ф. Торпедное оружие. - М.: Воениздат, - 1984. - С.43-46). Известные торпедные аппараты несут определенное, относительно небольшое количество торпед. Пуск торпед возможен на строго определенных углах стрельбы.
К недостаткам известных торпедных аппаратов можно отнести то, что они имеют достаточно большие массо-габаритные показатели. Кроме того, известные торпедные аппараты рассчитаны на размещение ограниченного количества пусковых (стрельбовых) труб.
Наиболее близкой по совокупности существенных признаков к заявляемому изобретению является корабельная пусковая система для оружия типа торпеды, включающая пусковые установки (ПУ), размещенные на верхней палубе корабля побортно, симметрично относительно диаметральной плоскости (ДП) корабля, содержащие каждая стрельбовые (пусковые) трубы, основание, установленное на фундаменте корабля, поворотную опору, установленную на упомянутом основании с возможностью поворота и фиксации в заданных положениях относительно вертикальной оси, и средство для поворота поворотной платформы (RU 2140051 С1, F41F 3/00, 3/08, 1999). В походном положении (или при загрузке) пусковые установки располагаются близко к борту параллельно ДП корабля.
Однако известная корабельная пусковая система обеспечивает возможность использования относительно небольшого количества стрельбовых (пусковых) труб, расположенных на одном уровне, и не предполагает размещения на пусковых установках транспортно-пусковых контейнеров, объединенных в блок.
Задачей, решаемой изобретением, является создание корабельной пусковой системы для оружия типа торпеды, обеспечивающей приспособляемость к одно- и многоуровневым модулям (пакетам) транспортно-пусковых контейнеров и к использованию на надводном корабле, построенном с применением технологии стелс.
Указанная задача решается благодаря тому, что в корабельной пусковой системе для оружия типа торпеды, включающей размещенные побортно и симметрично относительно диаметральной плоскости корабля пусковые установки, каждая из которых содержит основание, установленное на фундаменте корабля, и поворотную опору, установленную на упомянутом основании с возможностью поворота и фиксации в заданных положениях относительно вертикальной оси, согласно изобретению каждая из поворотных опор выполнена с возможностью установки транспортно-пусковых контейнеров и включает опорную раму, снабженную элементами зацепления, выполненными с возможностью взаимодействия с соответствующими ответными элементами зацепления транспортно-пусковых контейнеров. На концевой части опорной рамы смонтированы электроразъемы электрической связи корабельной системы управления пуском с транспортно-пусковыми контейнерами. Каждая пусковая установка расположена в надстройке корабля, имеющей закрываемый лацпорт, выполненный с возможностью обеспечения поворота пусковой установки с транспортно-пусковыми контейнерами на заданный угол пуска. При этом в палубе корабля над пусковыми установками выполнены люки для загрузки транспортно-пусковых контейнеров на пусковые установки.
Вместе с этим пусковая установка выполнена с возможностью установки на поворотной опоре транспортно-пусковых контейнеров, объединенных в блок.
Кроме того, пусковая установка выполнена с возможностью установки на поворотной опоре транспортно-пусковых контейнеров, объединенных в блок, включающий два ряда разнесенных по высоте транспортно-пусковых контейнеров.
Технический результат использования изобретения состоит в том, что при обеспечении корабельной пусковой системе для оружия типа торпеды приспособляемости к одно- и многоуровневым модулям (пакетам) транспортно-пусковых контейнеров оно обеспечивает возможность повышения боевой эффективности подобных пусковых систем и соответственно объектов-носителей, в частности кораблей малого водоизмещения. Вместе с этим изобретение позволяет расширить номенклатуру корабельного оружия (например, по типам и размерам торпед и антиторпед) и, кроме того, обеспечивает повышение живучести корабельного оружия.
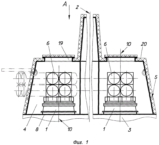
На фиг.1 схематично показана корабельная пусковая система для оружия типа торпеды, общий вид, поперечный разрез, ПУ показаны в положении «по-походному» (штрих-пунктиром показано боевое положение ПУ при открытом лацпорте); на фиг.2 - то же, вид по А на фиг.1 (штрих-пунктиром показано боевое положение ПУ при открытом лацпорте); на фиг.3 - пусковая установка для оружия типа торпеды, положение «по-походному», вид по Б на фиг.2, повернуто (вариант, когда на ПУ установлены четыре ТПК); на фиг.4 - устройство крепления ТПК на ПУ, поперечный разрез; на фиг.5 - положение защитного трансформируемого кожуха при установке на ПУ четырех ТПК, общий вид; на фиг.6 - положение защитного трансформируемого кожуха при установке на ПУ двух ТПК, общий вид; на фиг.7 - установленная на основании поворотная опора ПУ с трансформируемым защитным кожухом, общий вид (защитный кожух в положении, когда на ПУ не установлены ТПК); на фиг.8 - закрытые трансформируемым защитным кожухом электроразъемы электрической связи корабельной системы управления пуском с ТПК, общий вид сбоку (защитный кожух показан в разрезе); на фиг.9 - то же, защитный кожух в положении, когда на ПУ не установлены ТПК; на фиг.10 - съемные талрепы, установленные между элементами зацепления, выполненными на фундаменте корабля и на поворотной опоре ПУ, общий вид сзади ПУ (ТПК условно не показаны).
В варианте осуществления изобретения корабельная пусковая система размещается на надводном корабле, построенном с использованием технологии стелс (stealth). Корабельная пусковая система для оружия типа торпеды содержит две пусковые установки 1, размещенные побортно, симметрично относительно диаметральной плоскости 2 корабля 3. Пусковые установки 1 расположены в надстройке 4 корабля, имеющей лацпорты 5. Лацпорт 5 выполнен с возможностью обеспечения поворота ПУ с установленными транспортно-пусковыми контейнерами 6 на заданный угол пуска и с возможностью его (т.е. лацпорта) закрытия при нахождении пусковой установки в положении «по-походному». Таким образом, корабельная пусковая система в положении «по-походному» полностью скрыта в корпусе корабля, что позволяет повысить живучесть корабельного оружия.
Каждая ПУ содержит основание 7, установленное на фундаменте 8 корабля, поворотную опору 9, установленную на основании 7 с возможностью поворота и фиксации в заданном положении относительно вертикальной оси 10, и средство 11 для поворота поворотной опоры. В варианте осуществления изобретения средство 11 для поворота поворотной опоры 9 выполнено, например, в виде электромеханического привода. Поворотная опора 9 выполнена с возможностью установки на ней транспортно-пусковых контейнеров 6 с торпедами (антиторпедами) и включает опорную раму 12, которая снабжена элементами зацепления, выполненными с возможностью взаимодействия с соответствующими ответными элементами зацепления транспортно-пусковых контейнеров. В варианте осуществления изобретения крепление ТПК на пусковой установке осуществляется посредством снабженных гайками откидных болтов 13, установленных на ТПК и входящих в пазы соответствующих фитингов 14 опорной рамы 12. В варианте выполнения пусковая установка 1 выполнена с возможностью установки на поворотной опоре 9 транспортно-пусковых контейнеров 6, объединенных в блок (иные применяемые термины - пакет, модуль или кассета), включающий, например, два ряда разнесенных по высоте транспортно-пусковых контейнеров. В варианте осуществления изобретения ПУ служит для размещения пакетов (модулей, кассет), например, из двух или четырех ТПК. Вместе с этим ПУ допускает возможность установки на поворотной опоре 9 одного ТПК или пакета из трех ТПК. Таким образом, корабельная пусковая система обеспечивает приспособляемость к одно- и многоуровневым модулям (пакетам) транспортно-пусковых контейнеров, обеспечивает возможность повышения боевой эффективности подобных пусковых систем и соответственно объектов-носителей, в частности кораблей малого водоизмещения. Вместе с этим обеспечивается возможность расширения номенклатуры корабельного оружия (например, по типам и размерам торпед и антиторпед).
На концевой части опорной рамы 12 смонтированы электроразъемы 15 электрической связи корабельной системы управления пуском с транспортно-пусковыми контейнерами 6. Электроразъемы 15 закрыты трансформируемым защитным кожухом 16, выполненным с возможностью частичного перекрытия концевых частей транспортно-пусковых контейнеров в штатном положении последних на опорной раме 12. В варианте осуществления изобретения защитный кожух 16 по существу состоит из двух основных частей 17 и 18, одна из которых (17) стационарно закреплена на концевой части опорной рамы 12, а другая (18) может быть разъемно установлена в одном из трех положений в зависимости от наличия и количества ТПК на пусковой установке. Стационарная часть 17 защитного кожуха служит, в частности, для размещения электроразъемов 15 с соответствующими кабелями в свободном (не подключенном к ТПК) состоянии. Переустанавливаемая часть 18 защитного кожуха обеспечивает защиту электроразъемов, когда они подсоединены к соответствующим электроразъемам ТПК.
Корабельная пусковая система выполнена с возможностью загрузки транспортно-пусковых контейнеров 6 на пусковые установки 1 через соответствующие люки 19, которые выполнены в палубе 20 корабля 3 над пусковыми установками.
При длительном хранении и техническом обслуживании ПУ поворотные опоры (поворотные части ПУ) 9 могут быть раскреплены с помощью съемных талрепов 21, которые устанавливают между элементами зацепления, выполненными соответственно на фундаменте 8 корабля и на поворотных опорах 9 (на чертеже не показано).
Использование корабельной пусковой системы для оружия типа торпеды осуществляется следующим образом.
При загрузке транспортно-пусковых контейнеров ПУ располагаются параллельно ДП надводного корабля, поворотная опора 9 удерживается в фиксированном положении. Загрузку транспортно-пусковых контейнеров 6 на пусковые установки 1, расположенные в надстройке 4 корабля, осуществляют через люки 19, выполненные в палубе 20 корабля над пусковыми установками. Перед загрузкой на пусковую установку 1 в штатные гнезда устанавливают съемные опоры-ловители, а кругом открытого люка 19 в штатные гнезда устанавливают съемные палубные ловители (на чертеже не показано). Загрузку ТПК на ПУ осуществляют с помощью внешнего грузоподъемного средства с использованием специального устройства для загрузки (на чертеже не показано), которое совместно с упомянутыми ловителями обеспечивает заданное позиционирование ТПК при горизонтальной загрузке последних на ПУ корабля с обеспечением снижения перегрузок, действующих на ТПК в процессе загрузки в условиях внешних воздействий, например ветровых нагрузок, волнения моря. При установке блока (пакета) ТПК на пусковую установку посредством снабженных гайками откидных болтов 13 транспортно-пусковых контейнеров и фитингов 14 опорной рамы 12 производится крепление блока (пакета) ТПК на пусковой установке. После загрузки блока ТПК на ПУ снимают съемные опоры-ловители и съемные палубные ловители. Далее упомянутые съемные устройства используются для загрузки следующей ПУ корабля или передаются на пирс.
После установки блока (пакета) ТПК на ПУ транспортно-пусковые контейнеры через электроразъемы 15 подсоединяют к корабельной системе управления пуском. После подсоединения электроразъемов 15 на закрепленную на концевой части опорной рамы 12 стационарную часть 17 защитного кожуха 16 соответствующим образом (в зависимости от количества ТПК в пакете) устанавливают переустанавливаемую часть 18 защитного кожуха. Таким образом, ПУ из положения «загрузки» переводят в положение «по-походному».
Для перевода ПУ из положения «по-походному» в «боевое» положение (т.е. на угол пуска) включают электродвигатель электромеханического привода поворота поворотной опоры 9. При подходе поворотной опоры (поворотной части) ПУ к «боевому» положению соответствующий электрический контакт (путевой выключатель) взаимодействует с переустанавливаемьм упором (на чертеже не показано), установленным в положение, соответствующее заданному для данного надводного корабля «боевому» положению ПУ (т.е. заданному углу пуска), и выдает сигнал на остановку электромеханического привода поворота поворотной опоры. Пусковая установка готова для производства пуска торпеды (антиторпеды).
При возврате ПУ в положение «по-походному» после включения электродвигателя электромеханического привода поворотной опоры упомянутый переустанавливаемый упор отходит от электрического контакта (путевого выключателя) цепи управления ПУ и под действием пружинного нуль-установителя (на чертеже не показано) происходит возврат (установка) электрического контакта (путевого выключателя) в исходное положение.
При подходе поворотной опоры 9 пусковой установки к положению «по-походному» другой переустанавливаемый упор воздействует на электрический контакт (путевой выключатель), который выдает сигнал на остановку электродвигателя электромеханического привода поворота поворотной опоры. При срабатывании электрического контакта (путевого выключателя) отключается электродвигатель и вступает в работу его тормоз (на чертеже не показано). Дальнейший поворот ограничен жестким упором соответствующего переустанавливаемого упора в ответный элемент на поворотной опоре (на чертеже не показано). При срабатывании путевого выключателя информация о положении поворотной опоры (поворотной части ПУ) поступает в систему управления.
Таким образом, благодаря особенности исполнения корабельной пусковой системы для оружия типа торпеды изобретение обеспечивает приспособляемость к одно- и многоуровневым модулям (пакетам) транспортно-пусковых контейнеров, обеспечивает возможность повышения боевой эффективности подобных пусковых систем и соответственно объектов-носителей, в частности кораблей малого водоизмещения. Вместе с этим изобретение позволяет расширить номенклатуру корабельного оружия (например, по типам и размерам торпед и антиторпед) и, кроме того, обеспечивает повышение живучести корабельного оружия.
Формула изобретения
1. Корабельная пусковая система для оружия типа торпеды, включающая размещенные побортно и симметрично относительно диаметральной плоскости корабля пусковые установки, каждая из которых содержит основание, установленное на фундаменте корабля, и поворотную опору, установленную на упомянутом основании с возможностью поворота и фиксации в заданных положениях относительно вертикальной оси, отличающаяся тем, что каждая из поворотных опор выполнена с возможностью установки транспортно-пусковых контейнеров и включает опорную раму, снабженную элементами зацепления, выполненными с возможностью взаимодействия с соответствующими ответными элементами зацепления транспортно-пусковых контейнеров, на концевой части опорной рамы смонтированы электроразъемы электрической связи корабельной системы управления пуском с транспортно-пусковыми контейнерами, причем каждая пусковая установка расположена в надстройке корабля, имеющей закрываемый лацпорт, выполненный с возможностью обеспечения поворота пусковой установки с транспортно-пусковыми контейнерами на заданный угол пуска, при этом в палубе корабля над пусковыми установками выполнены люки для загрузки транспортно-пусковых контейнеров на пусковые установки.
2. Система по п.1, отличающаяся тем, что пусковая установка выполнена с возможностью установки на поворотной опоре транспортно-пусковых контейнеров, объединенных в блок.
3. Система по п.2, отличающаяся тем, что пусковая установка выполнена с возможностью установки на поворотной опоре транспортно-пусковых контейнеров, объединенных в блок, включающий два ряда разнесенных по высоте транспортно-пусковых контейнеров.










Комментариев нет:
Отправить комментарий