РОССИЙСКАЯ ФЕДЕРАЦИЯ![]() ФЕДЕРАЛЬНАЯ СЛУЖБА ПО ИНТЕЛЛЕКТУАЛЬНОЙ СОБСТВЕННОСТИ, ПАТЕНТАМ И ТОВАРНЫМ ЗНАКАМ |
(19)
RU
(11)
(13)
C1
| |||
| ||||
(12) ОПИСАНИЕ ИЗОБРЕТЕНИЯ К ПАТЕНТУ
| Статус: Пошлина: | действует (последнее изменение статуса: 08.08.2016) учтена за 19 год с 05.08.2016 по 04.08.2017 |
(21)(22) Заявка: 98115156/02, 04.08.1998
(24) Дата начала отсчета срока действия патента:
04.08.1998
(45) Опубликовано: 27.08.1999
(56) Список документов, цитированных в отчете о поиске: Jane's "Dedence Systems Modernisation", 1995, N 2, р. 37. GB 2112965 A, 27.07.93. US 4553493 A, 19.11.85. FR 2464185 A1, 10.04.81.
Адрес для переписки:
300004, Тула, Щегловская засека, ГУП КБП |
(71) Заявитель(и):
Государственное унитарное предприятие Конструкторское бюро приборостроения
(72) Автор(ы):
Шипунов А.Г., Бабичев В.И., Иванов В.В., Овсенев С.С., Тарасов В.И.
(73) Патентообладатель(и):
Государственное унитарное предприятие Конструкторское бюро приборостроения |
(54) КОРАБЕЛЬНЫЙ КОМПЛЕКС ВЫСОКОТОЧНОГО ОРУЖИЯ БЛИЖНЕГО РУБЕЖА
(57) Реферат:
Изобретение относится к оборонной технике, а именно> к высокоточному ракетно-пушечному оружию ближнего рубежа, и может использоваться на патрульных катерах. Задачей изобретения является создание высокоточного, помехоустойчивого и высокопроизводительного ракетно-пушечного оружия ближнего рубежа для патрульных катеров и сторожевых кораблей. Технический результат - повышение эффективности вооружения.
Решение указанной задачи достигается за счет того, что в корабельный комплекс ракетно-пушечного оружия ближнего рубежа, содержащий управляемые ракеты с блоком управления и пушку, установленные на подъемно-поворотной платформе с приводами, теплотелевизионный прицел, автомат сопровождения целей, блок отображения информации, блок измерения параметров качек, пульт управления и вычислитель, при этом первый выход пульта соединен с блоком управления ракеты и пушкой, второй выход - с последовательно соединенными вычислителем и приводами подъемно-поворотной платформы, второй выход вычислителя соединен с первым входом блока отображения информации, а выход прицела соединен со входом автомата сопровождения целей и вторым входом блока отображения информации, вводятся вторая подъемно-поворотная платформа, установленная на мачте корабля и содержащая приводы и датчики углов поворота по азимуту и по углу места, лазерно-лучевой блок, размещенный на второй подъемно-поворотной платформе, приемник излучения расположенный в заднем торце ракеты и электрически соединенный с блоком управления и оптически - выходом лазерно-лучевого блока, при этом первый вход приводов второй подъемно-поворотной платформы соединен с третьим выходом пульта управления, второй вход - с выходом автомата сопровождения целей, выход датчиков углов поворота платформы соединен с третьим входом вычислителя, третий выход которого соединен со входом лазерно-лучевого блока, а теплотелевизионный прицел размещен на второй подъемно-поворотной платформе. 1 з.п. ф-лы, 4 ил.

Предлагаемое устройство относится к оборонной технике, а именно к высокоточному ракетно-пушечному оружию ближнего рубежа и может использоваться на патрульных катерах и легких сторожевых кораблях береговой охраны.
В настоящее время патрульные катера (ПК) и сторожевые корабли получили приоритетное направление в кораблестроительной программе многих стран мира. Основными задачами их являются охрана территориальных вод и экономических морских зон, контроль за рыболовством, пресечение контрабандной перевозки товаров и наркотиков, а также содействие боевым операциям в прибрежных районах. Например, патрульные катера и сторожевые корабли США, начиная с 1970 г. , вместе с регулярными ВМС участвовали практически во всех военных конфликтах, где были задействованы вооруженные силы США [1].
Для поражения надводных, береговых и воздушных целей на современных ПК имеется артиллерийское оружие (пушки) калибра 20 - 40 мм, пулеметы калибра 7,62, 12,7 и зенитные ракетные комплексы (ЗРК) с автономным наведением (с ИК головками самонаведения) [2]. Например, вооружение американского ПК "Циклон" состоит из двух артустановок Мк 38 "Бушмастер", пулеметов 12,7 мм и 7,62 мм и ЗРК "Стингер" с автономной системой самонаведения. В качестве информационно-прицельных систем используются РЛС обнаружения целей RASCAR и теплотелевизионный прибор наблюдения и прицеливания VISTAR [3].
Основной боевой мощью кораблей является управляемое ракетное оружие, включающее противокарабельные ракеты (ПКР). Этими ракетами оснащаются, в основном, корабли класса корветы и фрегаты. Они предназначены для стрельбы на дальности 30-200 км, содержат активные радиолокационные или пассивные ИК головки самонаведения и имеют большие габаритно-массовые характеристики. Например, ПКР "Гарпун" (США) - массой 667 кг, ПКР "Экзосет" (Франция) - массой 850 кг, ПКР "Габриэль" Мк 4 (Израиль) - массой 960 кг [4]. В силу больших габаритно-массовых, а также других специфических тактико-технических характеристик ПКР не используются на ПК в качестве управляемого оружия ближнего рубежа.
В настоящее время актуальной задачей является оснащение ПК и сторожевых кораблей современным высокоточным ракетно-пушечным оружием ближнего рубежа, эффективность которого соизмерима с эффективностью вооружения кораблей большего водоизмещения ранней постройки. Высокоточное вооружение должно обеспечивать эффективную стрельбу по малоразмерным надводным, береговым и воздушным целям на дальности прямой видимости (10 - 15 км) днем и ночью, при наличии организованных оптических и радиопомех, а также обеспечивать низкую стоимость выполнения боевой задачи при малом времени реакции.
Создание многоцелевых корабельных ракетно-пушечных комплексов ближнего рубежа ведется в нашей стране и за рубежом. Из информационных источников известно, что ПК "Мираж" (Россия) оснащается противотанковым ракетным комплексом "Штурм" [5] . Этот комплекс является аналогом заявленному и содержит оптический прицел, оптический пеленгатор излучателя ракеты и радиокомандную аппаратуру передачи команд управления на ракету, установленные в рубке катера, а также управляемые ракеты, установленные на неподвижных пусковых установках и содержащие блок управления. Наведение прицельной марки на цель осуществляется вручную, а управление ракетой - автоматически с помощью командной системы управления с передачей команд по радиолинии связи.
Основными недостатками аналога являются: низкая вероятность попадания в малоразмерную цель из-за низкой точности сопровождения цели ручной системой наведения прицельной марки; низкая помехозащищенность от организованных оптических и радиопомех из-за наличия радиоканала с низкой степенью помехоустойчивости и наличия оптического пеленгатора, обращенного в сторону противника; применение комплекса на катере возможно только в дневных условиях из-за отсутствия в прицеле канала ночного видения; неподвижное размещение пусковых устройств, а также малые дальности стрельбы (до 6 км) требуют от катера выход на небольшие дистанции при нулевом курсовом угле на цель, что снижает быстродействие открытия огня и живучесть катера в условиях противодействия противника.
В качестве прототипа заявленному устройству служит корабельный ракетно-пушечный комплекс ближнего рубежа "Valkyrie SWPS" (США) для патрульного (сторожевого) катера типа Cycione. Комплекс содержит низкопрофильную корабельную установку на единой стабилизированной подъемно-поворотной платформе, на которой размещены пушка "Bushmaster" калибра 25 мм - 30 мм, управляемые противотанковые ракеты "Hellfire" (AGM-114В), теплотелевизионный прицел, и лазерный целеуказатель. На месте оператора установлены пульт управления, блок отображения информации, вычислитель и автомат сопровождения целей. Ракета содержит лазерную полуактивную головку самонаведения (ГСН) [6, 7]. Система управления полетом ракеты - комбинированная: с инерциальным наведением на начальном участке и лазерным полуактивным самонаведением на конечном участке сближения с целью.
В указанном комплексе наведение линии визирования прицела, оптической оси целеуказателя, ракеты и пушки на цель осуществляется с помощью подъемно-поворотной платформы или в ручном режиме оператором по сигналам с пульта управления или в автоматическом режиме по сигналам с автомата сопровождения цели. На мониторе блока отображения информации высвечивается изображение сопровождаемой цели и прицельны марка, положение которой учитывает углы упреждения пусковой установки ракет и пушки, вырабатываемые вычислителем.
После старта управление ракетой осуществляется первоначально инерциальной системой до момента захвата ГСН отраженного от цели лазерного излучения, в дальнейшем ракета самонаводится на энергетический центр отраженного сигнала.
Основными недостатками прототипа являются: малая дальность обнаружения целей в условиях волнения моря из-за размещения теплотелевизионного прицела на низкопрофильной платформе на малой высоте от ватерлинии; низкая помехоустойчивость системы управления ракетой от организованных оптических помех из-за обращения ГСН в сторону облучаемой цели, что позволяет сформировать с помощью обнаружителя излучения мощное лазерное излучение той же структуры с ложной цели; низкая точность попадания ракеты в малоразмерную цель из-за смещения энергетического центра отраженного сигнала, вызванного изменением фона и профиля движущейся цели, а также в силу того, что после старта на ракету не передается информация об изменении параметров цели и носителя.
Задачей предлагаемого изобретения является создание высокоточного, помехоустойчивого и высокопроизводительного ракетно-пушечного оружия ближнего рубежа для патрульных катеров и сторожевых кораблей, соизмеримого по эффективности с вооружением кораблей большего водоизмещения ранней постройки.
Решение данной задачи достигается за счет того, что в корабельный комплекс ракетно-пушечного оружия ближнего рубежа, содержащий управляемые ракеты с блоком управления и пушку, установленные на подъемно-поворотной платформе с приводами, теплотелевизионный прицел, автомат сопровождения целей, блок отображения информации, блок измерения параметров качек, пульт управления и вычислитель, при этом первый выход пульта соединен о блоком управления ракеты и пушкой, второй выход - с последовательно соединенными вычислителем и приводами подъемно-поворотной платформы, второй выход вычислителя соединен с первым входом блока отображения информации, а выход прицела соединен со входом автомата сопровождения целей и вторым входом блока отображения информации, вводятся вторая подъемно-поворотная платформа, установленная на мачте корабля и содержащая приводы и датчики углов поворота по азимуту и по углу места, лазерно-лучевой блок управления ракетой, размещенный на второй подъемно-поворотной платформе, приемник излучения, расположенный в заднем торце ракеты и электрически соединенный с выходом блока управления, при этом первый вход приводов второй подъемно-поворотной платформы соединен с третьим выходом пульта управления, второй вход - с выходом автомата сопровождения целей, выход датчиков углов поворота платформы соединен с третьим входом вычислителя, третий выход которого соединен со входом лазерно-лучевого блока, а теплотелевизионный прицел размещен на второй подъемно-поворотной платформе.
Вводимый лазерно-лучевой блок управления ракетой содержит импульсный лазер, вход которого подключен к выходу блока формирования импульсного кода, а выход оптически связан с блоком формирования луча, выход которого соединен с блоком сканирования луча, кинематически связанного с датчиком углового положения и оптически - с оптической системой, съюстированной с прицелом, а также блок поправочных команд, вход которого соединен с вычислителем, выход - с первым входом блока формирования импульсного кода, второй вход которого соединен с датчиком углового положения.
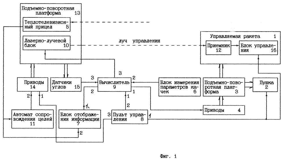
На фиг. 1 представлена блок-схема предлагаемого комплекса ВТО; на фиг. 2 представлен эскиз его размещения на катере; на фиг. 3 - блок-схема лазерно-лучевого блока, где 1 - управляемая ракета, 2 - пушка, 3 - подъемно-поворотная платформа боеприпасов, 4 - приводы платформы боеприпасов, 5 - теплотелевизионный прицел, 6 - блок измерения параметров качек, 7 - блок отображения информации, 8 - пульт управления, 9 - вычислитель, 10 - лазерно-лучевой блок, 11 - автомат сопровождения цели, 12 - приемник излучения, 13 - подъемно-поворотная платформа прицела, 14 - приводы платформы прицела, 15 - датчики углов поворота платформы, 16 - блок управления ракетой, 17 - импульсный лазер, 18 - формирователь импульсного кода, 19 - блок формирования луча, 20 - блок сканирования, 21 - датчик углового положения, 22 - оптическая система, 23 - блок поправок.
Предлагаемое устройство работает следующим образом.
Оператор с пульта управления 8 (фиг. 1) подает команды на приводы 14 подъемно-поворотной платформы 13 и осуществляет наведение линии визирования прицела 5 по азимуту и углу места. На мониторе блока отображения информации 7 воспроизводится обозреваемое прицелом пространство. При этом с датчиков 15 подаются сигналы, пропорциональные углам и угловым скоростям поворота платформы 13, на вход вычислителя 9, на второй вход которого подаются сигналы с блока измерения параметров качек 6, пропорциональные путевой скорости, углов качек и курса катера. Вычислитель 9 по определенным алгоритмам вырабатывает сигналы управления приводами 4, в соответствии с которыми платформа боеприпасов 3 следит за положением линии визирования прицела 5 с необходимыми углами упреждения для обеспечения высокой точности стрельбы пушкой 2 и встреливания ракеты 1 в луч управления блока 10. С вычислителя 9 на монитор блока 7 подается также информация о параметрах носителя, цели и условиях стрельбы.
Обнаружив и распознав цель на экране монитора оператор переводит слежение линии визирования прицела 5 за целью в автоматический режим с помощью автомата сопровождения целей 11, который управляет приводами 14 на основе обработки сигналов с прицела по контрастно-корреляционному методу.
При устойчивом сопровождении цели автоматом оператор с пульта 8 подает команду на стрельбу пушкой 2 или на старт ракеты 1. После встреливания ракеты в луч, создаваемый лазерно-лучевым блоком 10, приемник 12 ракеты воспринимает сигналы с информацией, заложенной в луче (преобразует их в электрические), и передает на блок управления 16, в результате чего ракета наводится на цель по оси луча, съюстированной с линией визирования.
Платформа прицела 13 расположена на мачте катера (фиг. 2) на предельно возможной высоте. Рабочее место оператора и блоки 7, 8, 9 и 11 размещены в рубке катера. Платформа боеприпасов 3 установлена на палубе катера.
Лазерно-лучевой блок 10 (фиг. 1) работает следующим образом. Световой поток от импульсного лазера 17 (например, ИЛПИ-107) блоком формирования луча 19 (фиг. 3) с помощью линз концентрируется в узкий вытянутый пучок, который поступает в блок сканирования 20, выполненный в виде оптического клина, приводимого во вращательное движение электроприводом. Блок сканирования 20 осуществляет последовательное сканирование плоского луча по курсу и тангажу. Синхронно с этим блоком перемещается датчик углового положения лучей 21, на входе которого вырабатывается сигнал, пропорциональный пространственному положению луча в информационном поле управления ракетой.
Сканируемый плоский луч с блока 20 поступает на панкратическую оптическую систему 22, которая по программе в процессе полета ракеты производит изменение масштаба изображения лучей обратно пропорционально дальности до ракеты, обеспечивая тем самым постоянные размеры поля управления на траектории полета.
Электрический сигнал о положении сканируемого луча в поле управления с датчика 21 поступает на вход формирователя импульсного кода 18, на второй вход которого с блока поправок 23 от вычислителя 9 (фиг. 1) поступает сигнал, пропорциональный угловой скорости линии визирования, изменению параметров носителя (углов качек, скорости) и условий стрельбы (подъем траектории полета над волнами и др.). Формирователь 18 преобразует поступающие сигналы в кодовую последовательность импульсов, содержащую информацию о текущем положении плоского луча в поле управления и о поправочных командах. Датчик углового положения 21 может быть выполнен, например, в виде фотоэлектрического преобразователя угла в код [8]. Формирователь импульсного кода 18 может быть выполнен по схеме фиг. 4. Преобразователи кодов 23 и 24 могут быть выполнены аналогично схеме рис. 4-5б [8], генератор импульсов 25, например, по схеме рис. 18.31 [9], схема "или" - реализована на стандартных логических элементах, как в разделе 9.1 [9] рис. 9.5.
Приемник излучения 12 (фиг. 1.) ракеты осуществляет прием оптического сигнала, преобразует его в импульсный сигнал и дешифрирует его. Прием сигнала происходит только в моменты пересечения плоским лучом приемника, при этом сигнал содержит информацию о координатах, луча, следовательно, о координате ракеты в поле управления и поправочных командах. Дешифрированный приемником сигнал, пропорциональный координатам ракеты и поправочным командам, поступает в блок управления ракетой 16.
Предлагаемый корабельный комплекс высокоточного оружия ближнего рубежа по сравнению с известным обладает следующими преимуществами: обеспечивает ведение стрельбы по малоразмерным целям в пределах прямой видимости управляемыми ракетами и пушкой на большие дальности в условиях волнения моря благодаря установке подъемно-поворотной платформы с прицелом и лазерно-лучевым блоком на мачте катера; высокой помехоустойчивостью от организованных оптических помех благодаря введению в состав комплекса лазерно-лучевого блока управления ракетой в прямом луче, на ракете - приемника излучения, ориентированного в противоположную от противника сторону, что исключает попадание на него организованных оптических помех; высокой точностью попадания ракеты в малоразмерную цель благодаря применению системы управления в прямом луче лазера, которая позволяет передавать на ракету по лучу информацию об изменении параметров носителя, цели и условий пуска в процессе полета ракеты.
Заявляемое устройство проверено с большой эффективностью в комплексе высокоточного оружия ближнего рубежа "Вихрь-К".
Источники информации
1. Журнал "Морской сборник", N 1, 1996 г.
1. Журнал "Морской сборник", N 1, 1996 г.
2. Журнал "Военный парад", V-VI, 1996 г.
3. Журнал "Зарубежное военное обозрение", N 3, 1995 r.
4. Журнал "Зарубежное военное обозрение", N 2, 1994 г.
5. Журнал "Военный парад", сентябрь-октябрь, 1996 г.
6. Jane's "International Defence Review", 1996, N 5, p. 59.
7. Jane's "Defence Systems Modernisation", 1995, N 2, p. 37.
8. Аналого-цифровые преобразователи, Э. И. Гитис, М.: Энергоиздат, 1981, с. 188-192.
9. У. Титце, К. Шенк Полупроводниковая схемотехника. М.: Мир, 1982.
Формула изобретения
1. Корабельный комплекс высокоточного оружия ближнего рубежа, содержащий управляемые ракеты с блоком управления и пушку, установленные на подъемно-поворотной платформе с приводами, теплотелевизионный прицел, автомат сопровождения целей, блок отображения информации, блок измерения параметров качек, пульт управления и вычислитель, при этом первый выход пульта соединен с блоком управления ракеты и пушкой, второй выход - с последовательно соединенными вычислителем и приводами подъемно-поворотной платформы, второй вход вычислителя соединен с выходом блока измерения параметров качек, второй выход вычислителя соединен с первым входом блока отображения информации, а выход прицела соединен со входом автомата сопровождения целей и вторым входом блока отображения информации, отличающийся тем, что в него введены вторая подъемно-поворотная платформа, установленная на мачте корабля и содержащая приводы и датчики углов поворота по азимуту и по углу места, лазерно-лучевой блок, размещенный на второй подъемно-поворотной платформе, приемник излучения, расположенный в заднем торце ракеты и электрически соединенный с входом блока управления и оптически - с выходом лазерно-лучевого блока, при этом первый вход приводов второй подъемно-поворотной платформы соединен с третьим выходом пульта управления, второй вход - с выходом автомата сопровождения целей, выход датчиков углов поворота платформы соединен с третьим входом вычислителя, третий выход которого соединен со входом лазерно-лучевого блока, а теплотелевизионный прицел размещен на второй подъемно-поворотной платформе.
2. Корабельный комплекс по п.1, отличающийся тем, что лазерно-лучевой блок управления ракетой содержит импульсный лазер, вход которого подключен к выходу блока формирования импульсного кода, а выход оптически связан с блоком формирования луча, выход которого соединен с блоком сканирования, кинематически связанного с датчиком углового положения и оптически - с оптической системой, съюстированной с прицелом, а также блок поправочных команд, вход которого соединен с вычислителем, выход - с первым входом блока формирования импульсного кода, второй вход которого соединен с датчиком углового положения.




Комментариев нет:
Отправить комментарий